ユトリロ額縁は国内で本縁製造のトップクラスのメーカーです

ユトリロ商品 Products
ユトリロ HOME > ユトリロ商品 > エミリオ135
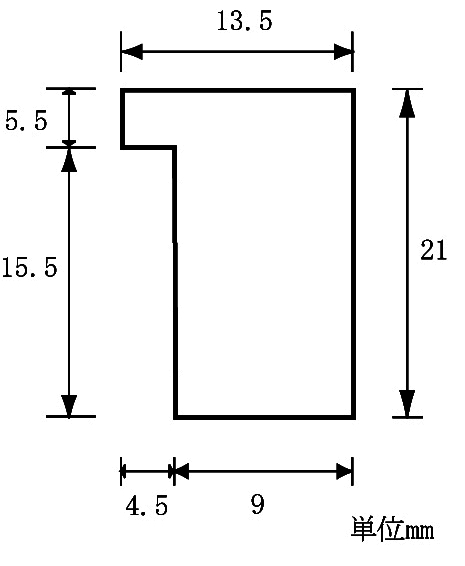
形状図拡大

<製品について>
本サイトに記載してます製品の写真の色合いは、イメージと異なる場合がございます。
また、ユトリロ製品は天然素材を使用している為、木目により表面の模様が写真と異なる場合がございます。
<ご注意事項>
※価格には、表面・裏板・トンボ・吊金具・吊紐・箱が含まれます。
※表面無の場合も上記価格となります。
※*印のサイズは受注生産対象となります。在庫の有無、納期をご確認ください。
※特別寸法可。別注価格表を参照ください。

本製品は天然無垢材を使用し、一枚一枚手造りにより製作しています。
サンプルに比べ色・木目等が若干異なる場合がございます。ご了承ください。